用途
微型电磁振动喂料机广泛应用于轻工、化工、粮食加工、商业等行业,用于粉状、颗粒状物料的给料、配料及定量自动包装等生产流程中,并可实现集中控制和自动控制。
特点
微型电磁振动喂料机与其它形式给料机相,具有体积小、重量轻、结构简单、耗电省、可无级调节给料量等特点。配套控制箱可实现手动、自动调节。微型给料机为座式结构,工作时只需放置在工作台上即可。另可在给料槽内增加一~二层筛网,成为小型振动筛分设备。
|
型 号
|
GZV1
|
GZV2
|
GZV3
|
GZV4
|
GZV5
|
GZV6
|
|
生产能力(t/h)
|
0.1
|
0.5
|
1
|
2
|
4
|
6
|
|
双振幅(mm)
|
1.5
|
|||||
|
振动频率(r/min)
|
3000
|
|||||
|
供电电压(V)
|
220
|
|||||
|
有功功率(W)
|
5
|
8
|
20
|
25
|
30
|
50
|
|
重量(kg)
|
4
|
7
|
12
|
18
|
27
|
45
|
注:生产能力按物料容重1.6t/m3计算。
如输送粉状物料则输送能力有所下降,选型时请注意。选型时可适当放宽槽宽或选较大型号的给料机。
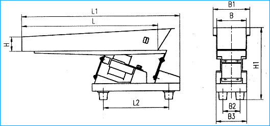
二、主要外形尺寸:
![]()
|
型 号
|
B
|
B1
|
B2
|
B3
|
L
|
L1
|
L2
|
H
|
H1
|
H2
|
|
GZV1
|
40
|
60
|
50
|
80
|
200
|
273
|
95
|
20
|
155
|
120
|
|
GZV2
|
60
|
80
|
50
|
80
|
300
|
374
|
95
|
30
|
168
|
120
|
|
GZV3
|
80
|
110
|
60
|
100
|
400
|
480
|
224
|
40
|
222
|
160
|
|
GZV4
|
100
|
130
|
70
|
120
|
500
|
568
|
310
|
50
|
256
|
190
|
|
GZV5
|
120
|
150
|
70
|
120
|
550
|
630
|
310
|
60
|
295
|
190
|
|
GZV6
|
200
|
240
|
120
|
180
|
600
|
760
|
440
|
70
|
300
|
220
|
注:给料机槽体外形及尺寸可根据具体工艺要求非标设计制作成封闭型或其它形式,中间加层筛网则可改为小型振动筛。
三、料仓溜咀配置示意:
电磁振动给料机的振幅和给料量受料仓仓压影响较大,设计料仓时应尽量减少仓压,使溜咀后侧板承受一[FS:PAGE]定的仓压,并设置斜溜沮及下料闸门。如图,一般a=1/4b。溜咀四周应与给料槽留有一定的间隙,一般5~10mm,以免产生噪音及影响振动。
![]()



南通康诚重工机械有限公司司座落在浩瀚的长江入海口北侧、绿茵如毯的江海平原上,东临黄海,南达沪杭,西通宁扬,北接盐阜、扼守苏中交通与中国最大的工业城——上海隔江相望,距大型港口城市——南通仅70余公里。境内新长铁路、宁启铁路、204国道、328国道纵横交 汇,交通条件极为便捷。公司内环境优雅、花木宜人,花园般的厂区 环境让人心旷神怡

南通康诚重工机械有限公司主要生产各种规格的矿山机械、输送机械、振动输送机 、振动给料机 、振动筛分机、仓壁振动器、板式给料机等等,公司拥有先进的设备,优秀的技术。公司经过改制、重组后,积极建立、健全和完善现代企业制度,逐步形成了一套有效、高效的运 行机制和管理模式,企业正以全新的面貌谱写康诚发展征程上新的华章。公司一直致力于产品结构的调整优化 。
高品质的产品使南通康诚重工机械有限公司赢得了较好的市场信誉。目前,康诚机械正以体制股份化、制度规范化、运营科学化、管理现代化企业的行列;正以雄厚的实力、先进的产品、多样的品类、优质的工艺在国内同行业中异军突起,好评不断!

南通康诚重工机械有限公司
销售热线:0513-80686000
电话:0513-88773999
传真:0513-80686060
邮箱:info@fanghuajixie.com
地址:江苏省海安县开发区南海大道(东)8号
相关资讯
- 三螺杆泵的工作注意事项
- 斗式提升机如何进行操作?
- ZYL-GP系列永磁直流减速电机技术参数与特点
- YJ系列罩极电机应用,参数与结构图
- 200t/h燃煤锅炉脉冲袋式除尘器技术
- 潜水排污泵的维护与保养常识
- 谈数控机床电气故障常用的诊断方法
- 电机常见问题解答之转子过热
- 怎样选择低价格高质量的温控阀
- YZU系列振动源三相异步电动机应用与参数
- 关于圆振动筛先进结构及使用与维护要点
- 如何维护检修,才能延长电机振动给料机的使用寿命
- 关于圆振动筛,一定要看看哦
- 了解重型板式给料机的安装及操作要点
- 振动筛分机轴承温度过高引起的故障原因讲解
- 谈谈电机振动输送机的安装与调试方法
- 关于振动筛分机在试运行时的注意点讲解
- 星型卸料器的使用注意事项讲解
- 圆盘给料机在安装完毕后的试运行要点讲解
- 了解刮板给煤机发生堵煤的主要原因

- 与著名歌唱家宋祖英合影
- 与著名歌唱家宋祖英合影

- 到北京参加活动
- 到北京参加活动

- 与毛泽东饰演者合影
- 与毛泽东饰演者合影

- 参加著名书法家的书法展
- 参加著名书法家的书法展

- 与周恩来扮演着合影
- 与周恩来扮演着合影

- 接受央视著名主持人朱军的采访
- 接受央视著名主持人朱军的采访

- 书法展
- 书法展

- 与书法家协会主席研讨
- 与书法家协会主席研
给料机
- 中型板式给料机
- 轻型板式给料机
- 重型板式给料机
- 板式喂料机
- 星型卸料器
- 星型给料器
- 刮板给煤机
- 全封闭给煤机
- 座式圆盘给料机
- 链式给煤机
- 螺旋分料器
- 双螺旋给料机
- 叶轮给煤机
- 星型给料机
- 皮带给煤机
- 电磁电机振动给料机.
- 电机振动给料机
- 微型电振给料机
- 同步惯性给料机
- 振动放矿机(ZZF)
- 往复式给煤机(K型)
- 电磁振动给煤机(ZG)
- 宽槽型振动给煤机(GZGKM)
- 振动给煤机(GZGM-K)
- 圆盘给料机(DK、DB型)
- 刚性叶轮式给料机(GY型)
- 叶轮给料机(GF型)
- 回转下料器(星形卸灰阀)
- 惯性振动给料斗(GD)
- 微型电磁振动喂料机(GZV)
- 电磁振动给料机(DMA)
- 电磁振动给料机(GZ)
- 共振式隔爆给料机(XJG)
- 自同步惯性振动给料机
- 振动喂料机(ZSW)
- 振动喂料机(GZD)
- 槽式给料机
给料机
- 中型板式给料机
- 轻型板式给料机
- 重型板式给料机
- 板式喂料机
- 星型卸料器
- 星型给料器
- 刮板给煤机
- 全封闭给煤机
- 座式圆盘给料机
- 链式给煤机
- 螺旋分料器
- 双螺旋给料机
- 叶轮给煤机
- 星型给料机
- 皮带给煤机
- 电磁电机振动给料机.
- 电机振动给料机
- 微型电振给料机
- 同步惯性给料机
- 振动放矿机(ZZF)
- 往复式给煤机(K型)
- 电磁振动给煤机(ZG)
- 宽槽型振动给煤机(GZGKM)
- 振动给煤机(GZGM-K)
- 圆盘给料机(DK、DB型)
- 刚性叶轮式给料机(GY型)
- 叶轮给料机(GF型)
- 回转下料器(星形卸灰阀)
- 惯性振动给料斗(GD)
- 微型电磁振动喂料机(GZV)
- 电磁振动给料机(DMA)
- 电磁振动给料机(GZ)
- 共振式隔爆给料机(XJG)
- 自同步惯性振动给料机
- 振动喂料机(ZSW)
- 振动喂料机(GZD)
- 槽式给料机
输送机
- 斗式提升机
- 螺旋传输机
- 可弯曲刮板输送机
- 粉料螺旋输送机
- 有轴螺旋输送机
- 空气输送斜槽(XZ型)
- 多底板往复式输送机
- 圆管带式输送机
- 惯性振动输送机
- 惯性振动热料输送机(SZF型)
- 电机振动输送机(DZS型)
- 垂直振动输送机(ZC)
- 螺旋输送机(GLS型)
- 螺旋输送机(GX、LS型)
- 链式输送机(FU型)
- 座式电磁振动输送机
- 管式电磁振动输送机(GZXG)
- 曲柄振动输送机(ZPL型)
- 带式输送机(TD75)
振动筛
破碎机
砂石生产线
- 制砂机生产线
- 细碎制砂机
- 碎石机械
- 碎石机生产线(碎石生产线)
- 石英石制砂机
- 青石制砂机
- 破碎机生产线
- 机制砂石设备
- 河卵石制砂机
- 复合式制砂机
- 鹅卵石制砂机
- 锤式打砂机
- 冲击式石头制砂机(冲击式制砂机)
- 碎石生产设备
- 碎石破碎机
- 石料破碎设备
- 矿山破碎设备
- 石子粉碎机
- 石头粉碎机
- 石料破碎
振动电机
其他设备
电话:0513-80686000
0513-88773999
传真:0513-80686060
邮箱:info@fanghuajixie.com
地址:江苏省海安县开发区南海大道(东)8号

.jpg)
.png)
.jpg)


.jpg)